威旭环保提供燃烧器定制,厂家直销,欢迎来电咨询 —— 专享热线: 4000-133-168


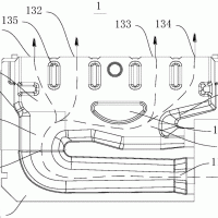
2x6T蒸汽锅炉工艺图

2022-04-28 22:38:00

2x6T蒸汽锅炉工艺图
2x6T蒸汽燃烧器定制工艺图
某医院蒸汽燃烧器定制房的详细施工图,共有17张图纸:施工说明、图例及设备表,各种剖面图、平面图,及各配件的安装大样图。
更多完整内容点下方文件进行下载


威旭

威旭环保专注于燃烧器、燃烧机、工业燃烧设备的设计、制造、销售为一体的科技型公司,专业提供燃烧器定制的解决方案,为客户提供完善的售后维保服务。联系电话:4000-133-168

友情链接

© 2021 燃烧器定制 | 网站备案:粤ICP备11069864号